Тормоза стали ватными? Не паникуй! Узнай, как прокачка тормозов автомобиля вернет им былую хватку. Пошаговая инструкция и советы для безопасной езды!
Рубрика: Тормозная система
Узнай всё о **трансмиссии**! Как она превращает рев мотора в движение, и почему без неё твой конь просто не сдвинется с места. Разбираемся в деталях!
Фольксваген Гольф и его тормоза: от старых добрых барабанных тормозов до современных дисковых! Узнайте, как менялась легенда!
Скрежет, визг, гул при торможении? Не паникуй! Расшифруем каждый звук тормозов твоего авто, чтобы вовремя избежать поломки.
Хочешь, чтобы твой ВАЗ тормозил как новенький? Установка задних дисковых тормозов на ВАЗ – это реально крутой апгрейд! Забудь о барабанах и почувствуй уверенность на дороге!
Раздражает скрип тормозов? Не паникуй! Разберемся, почему скрипят тормоза и как это исправить. Советы для автолюбителей, чтобы избавиться от неприятного звука!
Zhorya трансмиссия — это не просто коробка передач, это магия! Плавное переключение, динамика как у ракеты, и никакого дерганья. Узнай, как Zhorya трансмиссия изменит твой автомобиль!
Узнайте всё об Урале с воздушными тормозами! Обзор, характеристики, преимущества этой легендарной машины. Безопасность и выносливость – её кредо!
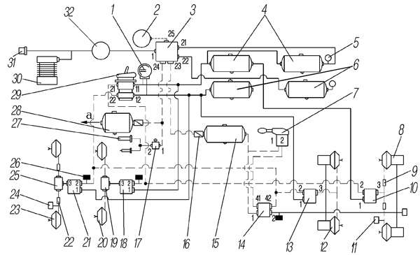
Современный мир автомобилестроения постоянно развивается, предлагая все более совершенные решения для обеспечения безопасности и комфорта водителя и пассажиров․ Стояночная тормозная система авто играет критически важную роль в этом процессе, гарантируя надежную фиксацию транспортного средства на наклонных поверхностях и предотвращая нежелательное…
Узнай все о трансмиссии Audi! Как она работает, какие бывают типы, и почему важен своевременный ремонт. Почувствуй разницу в вождении!