Home » Ремонт амортизатора автомобиля УАЗ

Ремонт амортизатора автомобиля УАЗ

Вот статья, оформленная в соответствии с вашими требованиями:

Ремонт амортизатора автомобиля УАЗ – задача, которая может показаться сложной, но при правильном подходе вполне выполнима в гаражных условиях. Традиционные методы ремонта зачастую подразумевают замену изношенных деталей, что ведет к значительным финансовым затратам. Наша статья предлагает альтернативный, инновационный подход к восстановлению работоспособности амортизаторов, основанный на глубоком понимании их конструкции и применении современных материалов. Этот метод не только экономит деньги, но и позволяет продлить срок службы амортизаторов, улучшая характеристики подвески вашего УАЗ.

Диагностика неисправностей амортизатора УАЗ

Перед тем, как приступить к ремонту, необходимо точно определить причину неисправности. Наиболее распространенные признаки неисправного амортизатора:

  • Ухудшение управляемости автомобиля, особенно на неровной дороге.
  • Увеличение тормозного пути.
  • Подтекание масла из амортизатора;
  • Посторонние стуки и шумы при движении по неровностям.

Тщательная визуальная проверка и проведение простых тестов (например, раскачивание кузова автомобиля) помогут выявить проблемные места и определить необходимость ремонта.

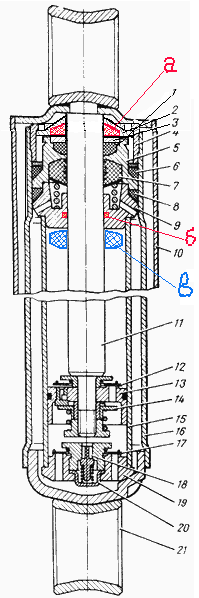
Инновационный подход к ремонту

Традиционный ремонт амортизаторов часто сводится к замене сальников, манжет и, в редких случаях, штока. Однако, мы предлагаем более комплексный подход, включающий:

  • Очистку всех деталей амортизатора от загрязнений и коррозии.
  • Восстановление геометрии штока (при необходимости) с использованием современных технологий.
  • Замену масла на синтетическое, обладающее улучшенными характеристиками.
  • Модификацию клапанной системы для оптимизации демпфирования.

Сравнительная таблица масел для амортизаторов УАЗ

Тип масла Вязкость Преимущества Недостатки
Минеральное Низкая Дешевизна Быстрая потеря свойств
Полусинтетическое Средняя Баланс цены и качества Менее стабильно, чем синтетика
Синтетическое Высокая Стабильность характеристик, долгий срок службы Более высокая цена

Выбор правильного масла – важный этап ремонта. Синтетические масла обеспечивают более стабильную работу амортизатора в широком диапазоне температур.

В середине нашей статьи стоит отметить, что правильный подход к ремонту амортизатора автомобиля УАЗ не только восстанавливает его функциональность, но и позволяет улучшить характеристики подвески, повышая безопасность и комфорт вождения.

Сборка и тестирование

После проведения всех ремонтных работ необходимо тщательно собрать амортизатор, убедившись в герметичности всех соединений. Перед установкой на автомобиль, амортизатор следует протестировать на стенде или, при отсутствии такового, вручную, оценив плавность хода и отсутствие провалов.

После установки амортизатора на автомобиль необходимо провести ходовые испытания, чтобы убедиться в правильности работы подвески. Обратите внимание на управляемость автомобиля, отсутствие посторонних шумов и стуков.

Redactor

Вернуться наверх